- 液位儀表系列
- 流量儀表系列
- 物位儀表系列
- 壓力/液位/差壓/密度變送器
- 液位/溫度/壓力/流量-報警儀
- PLC/DCS自動化控制監控系統
- GPRS無線遠傳裝置
- 物位儀表系列
- 有紙/無紙記錄儀系列
- 溫度儀表系列
- 分析儀|檢測儀|校驗儀系列
電話:86 0517-86917118
傳真:86 0517-86899586
銷售經理:1560-1403-222 (丁經理)
??? ? ? ? 139-1518-1149 (袁經理)
業務QQ:2942808253 / 762657048
網址:http://m.tiansocks.com
對于超聲波液位計安裝和位置有哪些基本要求
1、超聲波液位計安裝基本要求
超聲波液位計換能器發射超聲波脈沖時,都有一定的發射開角。從換能器下邊沿到到被測介質表面之間,由發射的超聲波波束所輻射的區域內,不得有障礙物,因此安裝時應盡量避開罐內設施,如:人梯、加熱設備、限位開關支架等。在這種情況下,安裝時必須進行“虛假回波學習”。另外注意超聲波波束不得與加料料流相交。安裝一體化超聲波液位計時還要注意:*高料位不得進入測量盲區;一體化超聲波液位計與罐壁必須保持一定距離;一體化超聲波液位計的安裝盡可能是換能器與液面保持垂直;安裝在危險區域的一體化超聲波液位計必須遵守國家防爆危險去的安裝規定。本安型一體化超聲波液位計安裝在有防爆要求的場合,超聲波液位計必須接地。

?
測量的基準面是超聲波液位計換能器的下邊沿。說明:①盲區范圍;②量程設定;③高位調整;④低位調整
2、超聲波液位計安裝位置

安裝時應注意一體化超聲波液位計與罐壁至少保持200mm距離。①基準面②容器中央或對稱軸
一體化超聲波液位計要安裝在錐形罐頂部中央位置
對于錐形容器,且為平面罐頂,儀表的##安裝位置是容器頂部中央,這樣可以保證測量到容器底部。

圖示常見超聲波液位計正確安裝位置和錯誤安裝位置

①錯誤:換能器應該與被測介質表面垂直。
②錯誤:一體化超聲波液位計被安裝在拱頂或圓形罐頂,會造成多次反射回波,在安裝時應盡量避免。
③是正確的超聲波液位計安裝方法

①錯誤:不要將一體化超聲波液位計安裝于入料料流的上方,以保證測量的是介質表面而不是入料料流。
②正確的安裝儀表室外安裝時應采取遮陽、防雨措施。
3一體化超聲波液位計防潮

對于安裝在室外、潮濕的室內及制冷或加熱罐頂上的一體化超聲波液位計,為了防潮,應擰緊電纜密封套,而且在進線處使電纜彎曲(入左圖所示)

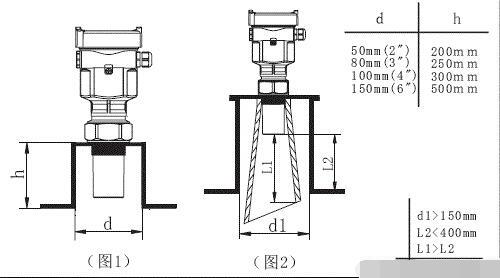
容器接管的長度:必須保證探頭伸出容器接管至少10mm

①在介質反射性好的情況下,容器接管直徑大,接管長度可略長于轉換器(圖1)右邊表格列不同直徑接管的長度推薦值。此時的接管末端必須平滑、無毛刺,盡可能磨圓。
另外,必須進行“虛假回波學習”。②在介質反射性不好、*高料位可能進入盲區時,必須提高一體化超聲波液位計接管位置時,可選用喇叭形導波管安裝方式,以增大信號的方向性,以減少接管對測量的影響(圖2)
4、攪拌對超聲波液位計的影響

當罐中有攪拌時,一體化超聲波液位計應遠離攪拌器,儀表安裝后要在攪拌狀態下進行“虛假回波學習”,以消除攪拌葉片所產生的虛假回波影響。若由于攪拌產生泡沫或翻起波浪,則應使用導波管安裝方式。
5、泡沫對超聲波液位計的影響
當入料、攪拌或容器內其他處理過程處理,會在某些介質表面形成泡沫,衰減超聲波液位計信號。如泡沫造成誤差,應將傳感器安裝與導波管內或使用導波雷達物位計。導波雷達物位計測量不受泡沫的影響,是這種應用的##選擇。
6、氣流對超聲波液位計的影響
如容器內有很強的氣流,如安裝在室外且風很大,或容器中有空氣渦流,應將傳感器安裝與導波管內或使用導波雷達物位計。
上一條:磁翻板液位計在自動分液系統液位測量中的應用
下一條:超聲波液位計分為兩線制、三線制和四線制有什么區別
- 相關文章
-
- 80G 高頻雷達物位計液位計適用于泡沫和攪拌工況的原因分析 【2025-08-06】
- 80G高頻雷達液位計防腐防爆耐高溫的功能是如何實現的? 【2025-07-23】
- 高頻雷達液位計在石油行業液位測量應用中的優勢有哪些 【2025-07-17】
- 雷達液位計測量時如何有效規避攪拌葉片和泡沫的干擾? 【2025-07-07】
- 液位變送器干擾解決方法 【2024-01-04】
- 雙法蘭液位變送器創威 【2024-01-04】
- 側裝式靜壓液位變送器 【2024-01-06】
- 有效增加渦街流量計使用壽命的日常維護操作方法說明 【2018-06-07】
- 磁翻板液位計主導管內襯四氟防腐設計簡要說明 【2016-11-14】
- 差壓式液位變送器廠商 【2024-01-07】








