- 液位儀表系列
- 流量儀表系列
- 物位儀表系列
- 壓力/液位/差壓/密度變送器
- 液位/溫度/壓力/流量-報警儀
- PLC/DCS自動化控制監控系統
- GPRS無線遠傳裝置
- 物位儀表系列
- 有紙/無紙記錄儀系列
- 溫度儀表系列
- 分析儀|檢測儀|校驗儀系列
全國銷售熱線:400-9280-163
電話:86 0517-86917118
傳真:86 0517-86899586
銷售經理:1560-1403-222 (丁經理)
??? ? ? ? 139-1518-1149 (袁經理)
業務QQ:2942808253 / 762657048
網址:http://m.tiansocks.com
電話:86 0517-86917118
傳真:86 0517-86899586
銷售經理:1560-1403-222 (丁經理)
??? ? ? ? 139-1518-1149 (袁經理)
業務QQ:2942808253 / 762657048
網址:http://m.tiansocks.com
采用超聲波液位計和浮球液位開關聯動實現水泵控制方案介紹
發表時間:2019-11-28 ??點擊次數:1121? 技術支持:1560-1403-222
在一般的污水處理廠及泵站中.均設有潛水泵。在潛水泵的控制系統設計中。為了簡便可靠,大多采用浮球液位開關控制進水泵的自動開停。浮球液位開關是一種靠液體的浮力改變自身狀態來達到控制目的的設備。它用一根電纜線連接,置于液面之上.內部裝有一個開關,當液位達到或降至某一高度時.浮球液位開關改變原來直立或傾斜的狀態,內部開關狀態隨之改變.開關信號傳至控制機構?,F鹽倉污水處理廠以及長安、周王廟等泵站的水泵自動控制方式即采用這種控制方法。污水處理廠和污水輸送泵站利用浮球液位開關和超聲波液位計控制水泵的實際工作情況以及相應的改進措施.探討如何更合理、更安全、更經濟地控制潛水泵的方法。
1浮球液位開關控制原理
現以我司為例介紹浮球開關的典型應用事例。進水泵前的污水池設有6個浮球液位開關。分成2組.信號送至ar編程序邏輯控制器(T業常用的一種能按一定順序完成自動控制功能的設備,以下簡稱PLc)。浮球液位開關的位置如圖l所示。

開泵的控制過程為:
當液位低于l舟浮球液位開關時,將發出低液位報警信號:
當液位高于2#浮球液位開關時,開l臺進水泵;
當液位高于3#浮球液位開關時.開2臺進水泵;
當液位高于4#浮球液位開關時,開3臺進水泵;
當液位高于5#浮球液位開關時,開4臺進水泵;
當液位高于6#浮球液位開關時,開5臺進水泵,并發出高液位報警信號。
為防止進水泵頻繁開停,關泵順序為:
當液位下降至5#浮球液位開關以下時。關l臺進水泵(開4臺);
當液位下降至錯浮球液位開關以下時,關1臺進水泵(開3臺);
當液位下降至3#浮球液位開關以下時,關l臺進水泵(開2臺);
當液位下降至2#浮球液位開關以下時,關l臺進水泵(開l臺);
當液位下降至l#浮球液位開關以下時,進水泵全關,并發出低液位報警。
為避免I臺泵重復啟動。水泵將依次循環投入工作先開先停,先停先開。當l臺水泵閑故障停止工作時,另一臺水泵自動投入運行??刂屏鞒叹W如圖2所示。
但在實際使用巾,為使浮球達到要求的高度和自由動作,要求一段長度的電纜。電纜用支架同定在提升并內。但在如此大容量的進水的開停沖擊及水流的帶動下。電纜線極易纏繞。加之長期多次蘑復動作、電纜老化等原因造成的電纜折斷、電纜外皮破裂等損壞問題.使控制受到影響,使進水泵的自動控制無法完成.自動控制形同虛設。如果在設計中注意到這個問題.施工時將浮球的電纜綁在一根鋼管上,僅留一小段能自由運動的長度以避免纏繞。但這樣其他『廿J題仍無法徹底解決。而且在實際運行中當浮球出現故障,要解決和修復已出現的問題.只能等待停泵時進行。不但影響生產且沉淀污泥產生的危害人體的有害氣體使工作危險性加大。針對浮球開關的這些不足和局限。如果采用超聲波液位計。這些問題便可迎刃而解。
2超聲波液位計的使用
我公司各泵站的池壁上為監視水位而裝了1個超聲波液位計.在5a的正式運行中一直處于良好的狀態,且精度較高,維護、校驗也很方便。為增進口f靠度,也可以考慮再增加1個超聲波液位計。以防岡液位計的故障導致進水泵的誤操作。
(1)根據原設計思路和圖l所示尺寸,可以將原PI£程序控制順序改為:

設2個液位汁測量值為X.、X2,儀表的精度為0.2%,表頭至池底的高度為8.7m,町能偏差0.034m,取為O.04m。當X.-X:)0.04m時,取消進水泵的自動控制功能。
開泵的順序為:(假設zui多有5臺泵)
當液位上升至2.90m時,發出低液佗報警;
當液位上升至3.12m時。開l臺泵;
當液位上升至3.34m時.開2臺泵:
當液位上升至3.56m時,開3臺泵;
當液位上升至3.78m時。開4臺泵:
當液位上升至3.90米時,開5臺泵,并發出高液位報警。停泵的順序為:
當液位下降至3.78m以下時。關l臺泵(開4臺);
當液位下降至3.56m以下時。關l臺泵(開3臺);
當液位下降至3.34m以下時,關l臺泵(開2臺);
當液位下降至3.12m以下時,關l臺泵(開l臺);

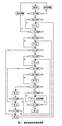
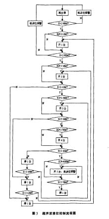
(2)除上述方法外,也可以充分利用PLc的計算和判斷功能。用新的思路霞新設計.使程序簡化。根據原T.藝設計.zui下部的浮球液位開關與池底高度為2.90m。每相鄰兩個的距離為0.22m,液位上升時,將所測值減去zui底浮球液位開關的高度除以O.22m后取整,即為將要開啟的泵的臺數;液位下降時,將所測值減去zui底浮球液位開關的高度除以O.22m后取整加一,即為將要開啟的泵的臺數。液位高于3.96m時高液位報警,液位低于2.90m時低液位報警。蔌的流程如圖4所示。

3 實現的可能性
在我公司各個控制點的實際應用中,可以根據實際需要.合理利用浮球液位開關以及超聲波液位計2種控制方式。在已設立PLC控制柜的生產現場。以超聲波液位汁控制為主;但在尚未安裝PI£控制柜的生產現場.從經濟角度出發。暫時用浮球液位開關直接接在設備控制柜的自控接口上.也可達到根據渡位控制潛水泵起停的控制要求,fffi且可以很方便地調節起停液位。等整個管線基本正常運行后.再投入PLC自控系統。由于PIJ(=自控系統的可靠性較高,配合超聲波液位汁對泵的開停時問、臺次進行科學合理的安排,避免人為失誤.增加了控制的町靠性、安全性和穩定性。
上一條:浮球液位計(變送器)檢定方法技術說明及示范實例介紹
下一條:超聲波液位計(物位計)在目前工業應用現狀及需考慮的重要事項

1浮球液位開關控制原理
現以我司為例介紹浮球開關的典型應用事例。進水泵前的污水池設有6個浮球液位開關。分成2組.信號送至ar編程序邏輯控制器(T業常用的一種能按一定順序完成自動控制功能的設備,以下簡稱PLc)。浮球液位開關的位置如圖l所示。

開泵的控制過程為:
當液位低于l舟浮球液位開關時,將發出低液位報警信號:
當液位高于2#浮球液位開關時,開l臺進水泵;
當液位高于3#浮球液位開關時.開2臺進水泵;
當液位高于4#浮球液位開關時,開3臺進水泵;
當液位高于5#浮球液位開關時,開4臺進水泵;
當液位高于6#浮球液位開關時,開5臺進水泵,并發出高液位報警信號。
為防止進水泵頻繁開停,關泵順序為:
當液位下降至5#浮球液位開關以下時。關l臺進水泵(開4臺);
當液位下降至錯浮球液位開關以下時,關1臺進水泵(開3臺);
當液位下降至3#浮球液位開關以下時,關l臺進水泵(開2臺);
當液位下降至2#浮球液位開關以下時,關l臺進水泵(開l臺);
當液位下降至l#浮球液位開關以下時,進水泵全關,并發出低液位報警。
為避免I臺泵重復啟動。水泵將依次循環投入工作先開先停,先停先開。當l臺水泵閑故障停止工作時,另一臺水泵自動投入運行??刂屏鞒叹W如圖2所示。
但在實際使用巾,為使浮球達到要求的高度和自由動作,要求一段長度的電纜。電纜用支架同定在提升并內。但在如此大容量的進水的開停沖擊及水流的帶動下。電纜線極易纏繞。加之長期多次蘑復動作、電纜老化等原因造成的電纜折斷、電纜外皮破裂等損壞問題.使控制受到影響,使進水泵的自動控制無法完成.自動控制形同虛設。如果在設計中注意到這個問題.施工時將浮球的電纜綁在一根鋼管上,僅留一小段能自由運動的長度以避免纏繞。但這樣其他『廿J題仍無法徹底解決。而且在實際運行中當浮球出現故障,要解決和修復已出現的問題.只能等待停泵時進行。不但影響生產且沉淀污泥產生的危害人體的有害氣體使工作危險性加大。針對浮球開關的這些不足和局限。如果采用超聲波液位計。這些問題便可迎刃而解。
2超聲波液位計的使用
我公司各泵站的池壁上為監視水位而裝了1個超聲波液位計.在5a的正式運行中一直處于良好的狀態,且精度較高,維護、校驗也很方便。為增進口f靠度,也可以考慮再增加1個超聲波液位計。以防岡液位計的故障導致進水泵的誤操作。
(1)根據原設計思路和圖l所示尺寸,可以將原PI£程序控制順序改為:

設2個液位汁測量值為X.、X2,儀表的精度為0.2%,表頭至池底的高度為8.7m,町能偏差0.034m,取為O.04m。當X.-X:)0.04m時,取消進水泵的自動控制功能。
開泵的順序為:(假設zui多有5臺泵)
當液位上升至2.90m時,發出低液佗報警;
當液位上升至3.12m時。開l臺泵;
當液位上升至3.34m時.開2臺泵:
當液位上升至3.56m時,開3臺泵;
當液位上升至3.78m時。開4臺泵:
當液位上升至3.90米時,開5臺泵,并發出高液位報警。停泵的順序為:
當液位下降至3.78m以下時。關l臺泵(開4臺);
當液位下降至3.56m以下時。關l臺泵(開3臺);
當液位下降至3.34m以下時,關l臺泵(開2臺);
當液位下降至3.12m以下時,關l臺泵(開l臺);

(2)除上述方法外,也可以充分利用PLc的計算和判斷功能。用新的思路霞新設計.使程序簡化。根據原T.藝設計.zui下部的浮球液位開關與池底高度為2.90m。每相鄰兩個的距離為0.22m,液位上升時,將所測值減去zui底浮球液位開關的高度除以O.22m后取整,即為將要開啟的泵的臺數;液位下降時,將所測值減去zui底浮球液位開關的高度除以O.22m后取整加一,即為將要開啟的泵的臺數。液位高于3.96m時高液位報警,液位低于2.90m時低液位報警。蔌的流程如圖4所示。

3 實現的可能性
在我公司各個控制點的實際應用中,可以根據實際需要.合理利用浮球液位開關以及超聲波液位計2種控制方式。在已設立PLC控制柜的生產現場。以超聲波液位汁控制為主;但在尚未安裝PI£控制柜的生產現場.從經濟角度出發。暫時用浮球液位開關直接接在設備控制柜的自控接口上.也可達到根據渡位控制潛水泵起停的控制要求,fffi且可以很方便地調節起停液位。等整個管線基本正常運行后.再投入PLC自控系統。由于PIJ(=自控系統的可靠性較高,配合超聲波液位汁對泵的開停時問、臺次進行科學合理的安排,避免人為失誤.增加了控制的町靠性、安全性和穩定性。
上一條:浮球液位計(變送器)檢定方法技術說明及示范實例介紹
下一條:超聲波液位計(物位計)在目前工業應用現狀及需考慮的重要事項
相關產品
- 相關文章
-
- 80G 高頻雷達物位計液位計適用于泡沫和攪拌工況的原因分析 【2025-08-06】
- 80G高頻雷達液位計防腐防爆耐高溫的功能是如何實現的? 【2025-07-23】
- 高頻雷達液位計在石油行業液位測量應用中的優勢有哪些 【2025-07-17】
- 雷達液位計測量時如何有效規避攪拌葉片和泡沫的干擾? 【2025-07-07】
- 雙法蘭液位變送器優點 【2023-12-30】
- 存儲式電磁流量計誤差產生的原因分析及預防辦法 【2018-01-08】
- 單晶硅液位變送器廠家 【2024-01-04】
- 法蘭液位變送器供貨廠家 【2023-12-27】
- 液位變送器磁阻廠家 【2023-12-23】
- 法蘭式液位變送器組成部件 【2024-01-03】








